| |
Левша советует
Рисунок на... яблоке
Способ получения такого рисунка состоит в том, что плоды выращивают в темноте, а затем подвергают действию солнечного света.
Затенение проводят так: мешочки из плотной бумаги (в них должны свободно помещаться большие яблоки) надевают на плоды, достигшие величины грецкого ореха. Отверстие сверху завязывают не очень туго, но так, чтобы внутрь не попадал солнечный свет. Окружающие яблоко листья не должны попадать в мешочек. В августе или в сентябре (в зависимости от времени созревания) мешочек с яблока снимают. Сначала отрезают его дно, чтобы плод не получил солнечный ожог. Через несколько дней, лучше в пасмурную погоду, мешочек снимают совсем. Под влиянием света кожица плода приобретает очень красивую окраску. Если, сняв мешочек, наклеить на яблоко с южной стороны вырезанный по контуру рисунок, например звезду, буквы, изображение птицы или животного, то это затененное место останется неокрашенным, и на ярком фоне получится светлый контур рисунка. Для получения яркой картинки на светлом фоне контур рисунка вырезают в стенке мешочка, который в этом случае не снимают с яблока до самого сбора урожая.
Шифер на крыше
Как и десятки лет назад, шифер крепят на кровле специальными длинными гвоздями с широкой шляпкой. Причем под шляпки обязательно подкладывают резиновые, кожаные или толевые прокладки. Хотя некоторые горе-мастера обходятся без них. А зря: от нерасчетливых ударов молотка в хрупком материале образуются трещины, сколы, а то и вовсе лист раскалывается на мелкие части. А стоимость его исчисляется несколькими десятками рублей.
Наш читатель Владимир Сапрыкин из Ростовской области предлагает крепить листы шифера на крыше особыми скобами, показанными на рисунке. Подходящий материал для их изготовления -- стальная проволока диаметром 4 мм. Не поленитесь, заранее заготовьте их ровно в два раза больше, чем куплено листов, и вы заметите, насколько быстрее пойдет работа.
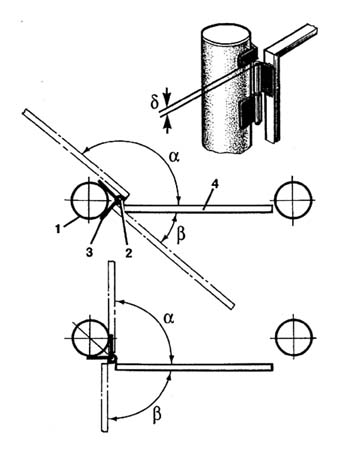
Калитка "Тяни-толкай"
Обычно калитка открывается в одну сторону. А это не совсем удобно. Есть у нее и еще одно слабое место. Конструкция обычных калиток требует неразъемных петель, иначе их и открывать нет никакой необходимости -- снимай да уноси целиком.
Ликвидировать эти недостатки конструкции удалось москвичу Ю.Михайлову. Он предлагает простое крепление калитки в сварном исполнении. В плане (см. рис.) сплошной линией показано положение "закрыто", а пунктиром -- "открыто". Углы a и b означают углы открытия наружу и внутрь соответственно. Изменяя взаимное положение упора-ограничителя и рамы калитки, например, в закрытом положении, можно менять соотношение углов: a>b на основном и a=b -- на дополнительном плане.
|
На рисунке конструкция двухсторонней калитки: 1 -- столб (стальная труба или деревянный брус); 2 -- петля; 3 -- упор-ограничитель и 4 -- элемент рамы калитки
|
|
|
При монтаже выбранное положение упора-ограничителя отмечается на столбе мелом, после чего сваркой фиксируются петли с таким расчетом, чтобы оси их совпадали с ребром упора, установка которого по месту завершает операцию. Между верхом петли и упором обеспечивается зазор d, в пределах которого возможно вертикальное перемещение створки калитки. Аналогичное решение нетрудно применить и для деревянной конструкции.

|