TopList Яндекс цитирования
Русский переплет
Портал | Содержание | О нас | Авторам | Новости | Первая десятка | Дискуссионный клуб | Чат Научный форум
Первая десятка "Русского переплета"
Темы дня:

Мир собирается объявить бесполётную зону в нашей Vselennoy! | Президенту Путину о создании Института Истории Русского Народа. |Нас посетило 40 млн. человек | Чем занимались русские 4000 лет назад? | Кому давать гранты или сколько в России молодых ученых?


Портал "Русский переплет"
Письмо Э.И.Юрченко

    Уважаемый Эдуард Иванович!
Как я узнал от В.И.Когана, у Вас возникли вопросы, относящиеся к содержанию моего и Ю.Н.Ефремова выступления на семинаре. Хотелось бы ответить на эти вопросы.

Как известно, проще всего датировать "Альмагест" (и это делалось уже давно) по величинам долгот звезд, указанным в звездном каталоге "Альмагеста". Ведь долгота каждой звезды из-за прецесии увеличивается на 50" в год или на 1o за 72 года. Легко рассчитать, что долготы звезд в "Альмагесте" отсчитываемые от точки весеннего равноденствия, соответствуют первому веку нашей эры. Но А.Т.Фоменко пишет в своей последней книге (1995, стр. 240), что долготами для датировки "Альмагеста" пользоваться нельзя, т.к. он не знает, от какой точки отсчитывает Птолемей долготы в "Альмагесте". Видимо, А.Т.Фоменко оченьь невнимательно читал "Альмагест", в котором в книге II, глава 7, Птолемей прямо и недвусмысленно пишет, что первый знак зодиака есть знак Овна в начале которого лежит точка весеннего равноденствия. Это означает, что Птолемей отсчитывает долготы всегда от точки весеннего равноденствия. То, что он действительно поступает именно так, как говорит, можно легко показать на примере двух звезд -- Спики и Регула ("Альмагест", VII, 2). Об этом говорилось на семинаре. Для этих двух звезд в "Альмагесте" прямо указано их положение по измерениям Гиппарха по отношению к точкам осеннего равноденствия и летнего солнцестояния! Следовательно, легко вычислить для эпохи Гиппарха их положение по отношению к точке весеннего равноденствия [и следовательно датировать эти изменения! Так, для наблюдения Спики получаем 148 г. до н.э.]. Но, как утверждает Птолемей, за 265 лет, прошедших от измерений Гиппарха до измерений Птолемея все долготы из-за прецессии увеличились на 2o40'. Прибавив эти 2o40' к долготе Спики 174o в эпоху Гиппарха, получим 176o40'. Но в каталоге "Альмагеста" для Спики указана долгота 26o40' Девы, которая равна 176o40' лишь в том случае, если первым знаком Зодиака, в начале которого лежит точка весеннего равноденствия, является знак Овна.

Вопрос ясен: Фоменко неправ. Тем не менее, чтобы избежать ненужного спора, мы не будем настаивать на методе датировки по долготам. Мы предлагаем датировать "Альмагест" по величинам склонений 18 звезд, указанных в "Альмагесте" (VII.3), измеренным Гиппархом и Птолемеем. Ведь склонение звезды есть угловое расстояние от звезды до небесного экватора, то есть склонение (аналогично географической широте) есть строго однозначно определенная величина, никак не зависящая от выбора начала отсчета долгот. Склонения звезд (в отличие от их широт) довольно быстро изменяются со временем. Например, склонение Спики уменьшается со скоростью 20" в год или 1 градус в 180 лет. И Ефремов и я говорили о том, что "Альмагест" легко, просто и точно (с точностью не хуже чем 10 лет) датируется по приведенным в нем величинам склонений 18 звезд, измеренных Гиппархом и Птолемеем. Делается это просто сравнением этих величин с величинами склонений, вычисленных для разных моментов времени по точной современной теории. Вот этот-то довод, убийственный для хронологии Фоменко, упорнно замалчивается им во всех статьях и книгах, в том числе и в последней его книге "Датировка звездного каталога 'Альмагеста'" (1995). Об этом-то замалчивании, Эдуард Иванович, говорилось на семинаре! Часто можно наблюдать, что Фоменко не видит того, чего не хочет видеть. Но в данном случае дело не так просто. Здесь налицо научная недобросовестность А.Т.Фоменко. Он не мог не знать о существовании этого довода, основанного на датировке по склонениям 18 звезд. Действительно, я приводил его лет 10 тому назад в присутствии Фоменко на семинаре в Институте истории естествознания и техники. Далее, примерно в 1990 г. я рассказал о нем Г.В.Носовскому (соавтору А.Т.Фоменко) с просьбой информировать Фоменко. Далее, описание метода датировки по склонениям и соответствующая датировка "Альмагеста" приведены в статье Ю.Н.Ефремова в журнале "Природа" N7 (1991 г.), стр. 96. Далее, описанные в "Альмагесте" измерения Гиппарха и Птолемея склонений 18 звезд датированы еще в старой статье Фогта (Vogt H., Astronomische Nachrichten, 1925, v.224, s.17-54), японца Маеямы (Maeyama, Y., 1984, Ancient stellar observations Timocharis, Aristillus, Hipparchus, Ptolemy. Dates and accuracies. Centaurus, 27, pp. 280-310) и, наконец, в книге Грассхофа (Grasshoff Gerd, The history of Ptolemy's star catalogue, 1990, p.120). Датировки получаются такие: Гиппарх 130 г. до н.э. +/- 5 лет, Птолемей 130 г.н.э. +/- 10 лет. Даты эти строго единственные на протяжении по меньшей мере последних 20 тысячелетий. Они прекрасно согласуются с датами, уже более 200 лет установленными для других наблюдений Гиппарха и Птолемея, описанных в "Альмагесте" (лунные затмения, наблюдения планет).

Чем объяснить, что А.Т.Фоменко замалчивает саму возможность простой точной и надежной датировки "Альмагеста" по склонениям 18 звезд? Дело в том, что он не в состоянии опровергнуть этот метод датировки и даже высказать хоть сколько-нибудь обоснованное сомнение в надежности этого метода. Как говорится, против лома нет приема! Здесь следует иметь в виду, что основной текст "Альмагеста" и его звездный каталог представляют собой (цитирую книгу Фоменко, стр.213) "цельное (целостное) научное произведение". Совершенно несостоятельны прежние попытки Фоменко оторвать их друг от друга. Действительно, в "Альмагесте" часто приводятся долготы и широты тех или иных звезд (например, в разделе, посвященном планетам), и они всегда в точности совпадают с долготами и широтами этих звезд, указанными в звездном каталоге. Значит, звездный каталог был создан не позже основного текста "Альмагеста". Последний же, к большому неудовольствию Фоменко, легко, точно и надежно датируется! Надежность подкрепляется еще и тем, что измеренные Гиппархом склонения 18 звезд, приведенные в "Альмагесте", находят полное подтверждение в другом независимом источнике - в единственном сохранившемся труде Гиппарха "Комментарии к Арату и Евдоксу", в котором Гиппарх приводит склонения 40 звезд (см. Р.Ньютон "Преступление ...", стр. 221). В указанной выше работе Маеямы (Maeyama, 1984) анализируются эти склонения 40 звезд и дается их датировка 145 г. до н.э. +/- 10 лет. Так что в данном случае Фоменко не может даже прибегнуть к своей обычной "палочке-выручалочке" - гипотезе фальсификацииданных неким средневековым фальсификатором. Ведь тогда ему пришлось бы предположить, что этот фальсификатор фальсифицировал (причем одинаковым образом) два совершенно разных сочинения - "Комментарии" Гиппарха и "Альмагест" Птолемея.  Абсурдность такого предположения слишком очевидна. Кроме того, как показывают многие исследования, систематическая ошибка склонений 18 звезд, измеренных Гиппархом и Птолемеем, очень мала (всего лишь одна или две угловые минуты!). В средние века точность астрономических расчетов была совершенно недостаточна, чтобы какой-либо средневековый фальсификатор мог вычислить столь точные значения склонений, скажем, на тысячу лет назад. С другой стороны, измеряются склонения просто и точно (намного точнее, чем долготы и широты, как об этом пишут все авторы, включая Р.Ньютона и А.Т.Фоменко).

Если не ошибаюсь, Эдуард Иванович, Вы после моего выступления на семинаре показали мне на одну страницу, где Фоменко критикует мою старую статью. Что это за критика? История этого такова. В 1983 г. в журнале "Вопросы истории" N12, я в соавторстве с Е.С.Голубцовой опубликовал статью о хронологии древнего мира. На этом раннем этапе моей работы я еще не знал о таких могучих доказательствах древности древней истории, как датировка "Альмагеста" по склонениям 18 звезд иди датировки клинописных вавилонских астрономических текстов (о последних см. Р.Ньютон, "Преступление ...", стр. 364). Эти доказательства убийственные для гипотезы Фоменко, я обнаружил только в 1985-1986 гг. Тем не менее и в моей статье 1983 г. приводились хоть и не столь сильные, но все же достаточно убедительные астрономические доводы против гипотезы Фоменко. В этой статье я впервые предложил метод датировки звездного каталога "Альмагеста" по изменению положения "быстрой" звезды (то есть облабдающей большим собственным движением) относительно соседних с ней звезд. [Позднее этот метод применен в работах Ю.Н.Ефремова]. Например, по координатам, приведенным в "Альмагесте", можно вычислить, что угловое расстояние между быстрой звездой Арктуром и соседней с ним звездой e Волопаса (находящейся примерноо на линии собственного движения Арктура) было равно 9.1 градуса. Ко времени Галлея (1690 г.) это расстояние увеличилось до 10.2 градуса, то есть произошло смещение Арктура относительно соседней с ним звезды e Волопаса на 1.1o в сторону созвездия Девы (именно в эту сторону направлен вектор собственного движения Арктура). Зная угловую скорость собственного движения Арктура, можно, очевидно, определить дату составления звездного каталога "Альмагеста" (в более точном расчете легко учесть и собственное движение звезды e Волопаса). Величина ошибки этой даты, конечно, зависит от случайных ошибок координат в каталоге "Альмагеста". Очень важно, что (в отличие от метода Фоменко) в этом методе, основанном на вычислении угловых расстояний между соседними звездами, автоматически уничтожается общая для них систематическая ошибка, связанная с неточностью конструкции измерительного прибора или с неточностью его установки.

Все это я коротко изложил в упомянутой мной статье (1983 г.), соответствующую цитату из которой дает А.Т.Фоменко в своей последней книге (1995 г., стр. 104 вверху). Прошу Вас, Эдуард Иванович, прочитайте эту цитату и обратите внимание, что в ней говорится о "соседних звездах", о положении яркой звезды (Арктура) "относительно соседних звезд",  о том, что при вычислении расстояния между соседними звездами уничтожается общая для них систематическая ошибка. И, значит, смещение Арктура на 1.1o в сторону созвездия Девы понимается мной, как смещение Арктура относительно соседних с ним звезд. Нужно иметь очень извращенное мышление или крайне невнимательно читать первоисточник, чтобы понять это как-то иначе. Тем не менее Фоменко все понял именно "иначе". Он приписывает мне нечто такое, чего у меня и в мыслях не было. Он пишет (см. середину 104 стр.), будто смещение 1.1o я понимаю, как смещение Арктура относительно его же (? Ю.З.) положения, указанного в звездном каталоге "Альмагеста" (а не относительно соседних звезд!) и рекомендует посмотреть на рис. 3.1 стр. 87 его книги. На этом рисунке прямая линия, на которой отмечены истинные положения Арктура в различные годы, направлена на созвездие Девы. Мысленно отметим на этой прямой точку, соответствующую 1690 г. (времени Галлея). Смещение этой точки относительно центра кружка, обозначающего положение Арктура, данное в "Альмагесте", направлено под углом примерно 45o к указанной прямой линии, то есть направлено отнюдь не к созвездию Девы. Я же в приводимой Фоменко цитате писал о смещении Арктура на 1.1o именно к созвездию Девы. Значит Фоменко передергивает карты ии приписывает мне какую-то нелепость. Он словно забывает о той цитате из статьи из моей статьи, которую он сам только что выписал, и теперь слова "соседние звезды" у него начисто исчезают! На рассмотренном нами рисунке не обозначена ни одна соседняя звезда. Кроме того, в той нелепой трактовке, которую Фоменко пытается мне приписать, не может быть и речи об уничтожении систематической ошибки в положении Арктура в "Альмагесте". А ведь в приводимой Фоменко цитате из моей стстьи я писал об уничтожении систематической ошибки при вычислении расстояний между соседними звездами.  Приписав своему оппоненту примитивную нелепость, Фоменко далее успешно ее ниспровергает. Но ко мне это не имеет никакого отношения. Таково представление А.Т.Фоменко о честной научной дискуссии. Но хватит об этом.

Хочу еще раз подчеркнуть, что в моем методе систематические ошибки автоматически исключаются. И в этом состоит большое преимущество моего метода датировки звездного каталога "Альмагеста" перед методом А.Т.Фоменко, которому для исключения систематической ошибки приходится прибегать к разного рода ухищрениям. Ведь использованные Фоменко 8 именных звезд наблюдались автором звездного каталога "Альмагеста" в разные месяцы, а значит при разных ошибках в настройке измерительного прибора - астролябии (например, при разных ошибках в угле наклона эклиптики) и при разных ошибках установки этого прибора из-за неточного направления оси вращения одного из колец астролябии на полюс мира. Например, Процион можно наблюдать только зимой, а Антарес только летом. Маловероятно, чтобы в течение полугода сохранялась одна и та же настройка измерительного прибора. Скорее всего он в начале каждой ночи настраивался заново. Поэтому вряд ли могут быть успешны попытки Фоменко определить и исключить ("компенсировать") общую для всех 8 именных звезд систематическую ошибку (см. последнюю книгу Фоменко, стр. 155). Напротив, в моем методе систематическая ошибка автоматически исключается, так как она является общей для Арктура и соседних с ним звезд. Ведь они почти наверняка наблюдались в течении одной ночи при одной и той же настройке измерительного прибора. Кроме того, в моем методе совершенно несущественно, от какой точки отсчитывал долготы автор звездного каталога "Альмагеста" (эту псевдопроблему поднял Фоменко, чтобы запутать дело). Действительно, расстояния между звездами не зависят от выбора системы координат (то есть инвариантны) и, в частности, не зависят от выбора начала отсчета долгот.

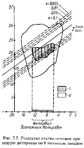
Но если все же допустить, что метод Фоменко достаточно корректен (чего я не считаю), то что он доказал? Посмотрите на рис. 7.7 стр. 163 его последней (1995 г.) книги. Уже при значении "гарантированной" точности каталога a=15' (объемлющий контур на рисунке) область возможной датировки область возможной датировки близко подходит  ко времени Птолемея (2-й век н.э.). В другой своей книге (А.Т.Фоменко, изд. МГУ, 1990г., стр. 73) Фоменко пишет, что (цитирую) "традициционная дата составления каталога "Альмагеста" (начало нашей эры) попадает в возможный интервал датировок лишь в предположении, что точность каталога была не 10', а 18' " (конец цитаты). Но в таком предположении нет ничего невозможного! Далее, в последней книге Фоменко (1995 г) на рис. 7.9 стр. 165, построенного по 7 именным звездам (без Арктура) видно, что объемлющий контур, соответствующий точности каталога, равной 15', доходит даже до эпохи Гиппарха (2-й век до н.э.). Область возможных датировок каталога, следовательно, распространяется от эпохи Гиппарха (2-й век до н.э.) до наших дней, то есть датировка совершенно неопределенная! Так стоило ли огород городить? Вывод - метод Фоменко бесполезен.

А.Т.Фоменко очень небрежен и невнимателен в своей работе по хронологии. Возможно, это объясняется тем, что он все делает наспех. Поэтому я не могу верить ни одному полученному им результату. Приведу пример. В своей брошюре "Статистическая хронология", 1990 г., стр. 22 Фоменко пишет, что во время первого солнечного затмения, описанного Фукидидом, Венера, возможно, была видна, однако при ясном дне и при условии, что Венера не уходит далеко от Солнца, это крайне маловероятно (? Ю.З.). Фоменко здесь грубо ошибается. Наоборот, вероятность этого равна 100%. Об этом я писал еще в упомянутой выше моей статье 1983г. - статье, которая была отлично известна Фоменко, так как он ее критикует. Действительно, день этого солнечного затмения, несомненно, был ясным, что следует уже из того факта, что затмение наблюдалось! Фукидид пишет, что Солнце было видно в виде полумесяца и появились звезды. Разве все это могло быть при облачном дне? Далее, Фоменко, видимо, не знает того, что знает каждый школьник, изучающий астрономию. А именно того, что Венера, как планета внутренняя, никогда не уходит далеко от Солнца (самое большое на 48o. В моей статье 1983 г., которую Фоменко "не замечает", я писал, что во время описываемого Фукидидом солнечного затмения 3 августа 431 г. до н.э. юлианского календаря Венера была на 20o восточнее (то есть левее) Солнца и должна быть видна не только при полном солнечном затмении, но даже и при неполном, когда никакие звезды не видны. Ведь Венера настолько ярка, что ее часто можно видеть днем даже и не во время солнечного затмения, когда Солнце ярко сияет в небе.  Фукидид же не был астрономом, да к тому же неизвестно, наблюдал ли он затмение сам или слышал от кого-то (эффект испорченного телефона). Поэтому он мог принять Венеру за звезду, а в дальнейшем переписчики его сочинения превратили "звезду" в звезды. Значит, у Фоменко нет серьезных оснований переносить Фукидида из древности в средневековье. Вообще же в подобных случаях гораздо лучше полагаться на документы, составленные профессиональными астрономами древности (вавилонскими, древнегреческими), а не на показания случайных лиц. Фоменко, располагая всего лишь микрокалькулятором, мог бы и сам за полчаса вычислить положение Венеры на 3 августа 431 г. до н.э. и убедиться в том, что она была на 20o левее Солнца. Но он предпочитает делать вид, что все это ему не известно и повторяет свои беспомощные ошибочные рассуждения о "ясном дне" и о якобы малой вероятности того, что Венера не уходит далеко от Солнца.  Впрочем, я не исключаю того, что здесь не "злой умысел", а всего лишь обычные для Фоменко спешка, небрежность и страшная предвзятость во всем.

Мое письмо к Вам оказалось намного длиннее, чем я ожидал, и за это я прошу Вас извинить меня. Поэтому я не буду касаться вопроса об ускорении D" (см. А.Т.Фоменко, стр. 20-23 упомянутой брошюры 1990 г.). Работы Фоменко об ускорении D" совершенно ошибочны (см. мою статью 1983 г.). Также и Р.Ньютон, впервые поднявший вопрос об этом ускорении, считал эти работы Фоменко ошибочными (правда, Фоменко об этом предпочитает не вспоминать).

В заключении приведу два самых "свежих" примера катастрофических провалов в "доказательствах" Фоменко. В последней книге А.Т.Фоменко и др. 1995 г., в главе X на стр. 212-221 рассказано о последних "достижениях" А.Т.Фоменко в хронологии. Глава имеет название "Датировка "Альмагеста" по покрытиям звезд и по лунным затмениям". Посмотрите, Эдуард Иванович, на таблицу 10.1 стр. 215. Она составлена якобы по данным, приведенным в "Альмагесте". Для покрытия Венерой звезды h Девы в таблице указан 406 год эры Набонассара. Но это грубейшая ошибка. Фоменко ошибся на 70 лет! На самом деле здесь должен стоять 476 год эры Набонассара, то есть покрытие Венерой звезды h Девы и покрытие Марсом звезды b Скорпиона наблюдались, согласно "Альмагесту", в одном и том же году эры Набонассара, но только в разные месяцы. При этом для Венеры 476 год эры Набонассара Птолемей указывает даже трижды (в трех разных местах "Альмагеста", в главах X.4, X.5). Вот так-то внимательно читал Фоменко "Альмагест"! Все наскоком, нахрапом. Но это не единственная ошибка в приводимой Фоменко на стр. 215 таблице. Для Марса он указывает 42 год эры по смерти Александра, а должен быть 52 год этой же эры ("Альмагест", X.9). Даже как-то неловко видеть, что подобные ошибки делает известный математик. Данные этой таблицы 10.1 Фоменко заложил в основу своих расчетов покрытий звезд. Поскольку это совершенно ошибочные данные, то вся дальнейшая его (и его ЭВМ) грандиозная работа сделана впустую. Впустую! Я не могу вспомнить другого примера столь катастрофического провала в какой-либо другой книге, претендующей на "научность". Полный конфуз! Фоменко пишет на стр. 215: "Изучение таблицы 10.1 показывает, что в хронологии Птолемея есть перекосы" (конец цитаты). Нет! В хронологии Птолемея никаких перекосов нет Перекосы есть у Фоменко, и они являются результатом крайне невнимательного (просто смехотворного) чтения "Альмагеста". И такой человек берется писать книги об "Альмагесте"!

Ну, а что было бы, если бы Фоменко не напутал в таблице 10.1 и взял правильные числа? Мог ли в этом случае его метод датировки "Альмагеста" по покрытиям дать ценный результат? Нет! Ведь Фоменко отбрасывает 90% всей информации, содержащейся в описании покрытий. Ведь в "Альмагесте" для каждого покрытия указывается не только год по эре Набонассара, но и месяц, и число месяца, когда это покрытие наблюдалось. Все эти данные (включая месяцы и числа) прекрасно подтверждаются расчетами по современной теории планет. Так, доказывается, что описанные в "Альмагесте" покрытия действительно произошли в разные годы в 3-м веке до н.э. и решение строго единственно. Но Фоменко такое решение не устраивает. Ему нужно найти средневековые покрытия, которые удовлетворяли бы данным "Альмагеста". Но это невозможно. Мешают месяцы и числа месяцев, указанные в "Альмагесте". И тогда Фоменко отбрасывает и месяцы и числа месяцев, то есть бошльшую часть данных, приведенных в "Альмагесте". Он берет из "Альмагеста" только интервалы в годах между покрытиями. При этом он еще назначает для этих интервалов льготный допуск +/-5 лет. Только после этого он "находит" такие средневековые покрытия, интервалы между которыми с точностью до указанного допуска +/-5 лет согласуются с "Альмагестом". Ясно, что ценность такого решения задачи равна нулю. Общепринятое же правильное решение, согласующееся с "Альмагестом" безо всякого допуска и, кроме того, дающее указанные в "Альмагесте" месяцы и числа месяцев, оказалось отброшенным, так как Фоменко положил в основу своих расчетов грубо ошибочные числа таблицы 10.1. Следует отметить еще одну ошибку Фоменко. Он считает (стр. 213), что в "Альмагесте" описано наблюдение точного покрытия Венерой звезды h Девы. Но глагол "покрывать" (по-немецки "bedecken", по-английски "to occult") в данном случае не употреблен. В переводе "Альмагеста" на немецкий язык К.Манициуса (1913, 1963гг.), считающегося одним из самых точных, написано, что Венера находилась в точном соединении со звездой h Девы ("in genauer Konjunktion"). То же самое мы видим и в новом (1984 г.) переводе Дж. Тумера на английский язык. При точном соединении долготы планеты и звезды одинаковы, но по широте расстояние между ними может составлять несколько десятых градуса, даже градус. Фоменко же ошибочно считает, что было точное покрытие Венерой звезды, так что расстояние между ними не превышало 1 или 2 угловых минут (разрешающая способность глаза). Это ошибочное условие он также кладет в основу своих расчетов покрытий звезд.

Другой катастрофический провал настиг Фоменко при его попытке датировать "Альмагест" с помощью описанных в нем 18 лунных затмений. И здесь Фоменко отбрасывает указанные в "Альмагесте" месяцы и числа месяцев, когда наблюдались эти затмения, и берет только интервалы (в годах) между ними с допуском +/-3 года. После этого он вычисляет даты 18 средневековых лунных затмений, интервалы между которыми с точностью до допуска +/-3 года согласуются с "Альмагестом" (см. табл. 10.3. на стр. 220). Посмотрите, Эдуард Иванович, на эту таблицу. Легко видеть, что 5 из 18 лунных затмений, указанных в этой таблице 10.3, а именно NN 13,11,6,17,5, не могли наблюдаться ни в Европе, ни в Северной Африке, ни в Малой Азии, ни в Вавилоне! Например, лунные затмения N 13 (1046 г.) и N 11 (1020 г.) не могли наблюдаться ни в Европе, ни во всей Африке, ни во всей Азии. Они наблюдались только в Южной и Северной Америках и в Большей части Тихого Океана. Может быть, Фоменко думает, что дикари с острова Пасхи послали (за несколько веков до Колумба) депешу Птолемею о том, что они на острове Пасхи наблюдали лунное затмение? Почему у Фоменко отброшенным оказалось общепринятое правильное решенгие, согласно которому все описанные в "Альмагесте" затмения произошли в древнее время? Потому, что Фоменко принял ошибочное условие (стр. 218), чтобы вычисленная фаза затмения и указанная в "Альмагесте" отличались не более, чем на единицу. В результате он необоснованно отбрасывал такие затмения, для которых указанная разница составляла, скажем, +/-1.1 или +/-1.2.

С искренним уважением
9.2.1997                                Ю.Завенягин
Если у Вас, Эдуард Иванович, возникнут вопросы, звоните мне по телефону.
 
 

Вернуться на страницу "Фоменкология"


Copyright (c) "Русский переплет"

Rambler's Top100